近日,河南焦作50多家胡辣汤店,因为招牌使用了“逍遥镇”,被“逍遥镇胡辣汤协会”告上了法庭。
“索赔3到5万元,或交5000块钱入会费,然后每年再交1000元会费”!
逍遥镇胡辣汤和武汉热干面、兰州拉面等地方小吃一样,是河南当地有名的特色小吃,做胡辣汤的商家用“逍遥镇”这个招牌少则用了几年,多则已用了几十年。
现在突然冒出来一个协会,说这是我的注册商标,你们都不能用了,引起了所有商家的强烈不满。有商家不得不连夜拆除“逍遥镇”字样,有人不舍拆除,失声痛哭。
而“逍遥镇胡辣汤协会”这波操作也将自己送上了舆论的风口浪尖,不少人批其“吃相太难看”,属实是在“割韭菜”“敲竹杠”!
多家胡辣汤店使用“逍遥镇”被告:
要么入会交会费,要么赔钱!
提起河南美食,胡辣汤一定是榜上有名,这当中又以逍遥镇胡辣汤的名气最大,河南的每一座城市里几乎都有它的身影。
但是近日,河南焦作却有50多位经营胡辣汤的商户,因为招牌使用了“逍遥镇”三个字被人告上了法庭,一位店主流泪拆掉招牌上的“镇”字还上了热搜。
这究竟是怎么回事呢?
1、50多家胡辣汤店使用“逍遥镇”被告!
11月16日,河南焦作50多家逍遥镇胡辣汤店的商户反映,他们突然收到了法院传票,原因是他们招牌上使用了“逍遥镇”,而这三个字已经被西华县“逍遥镇胡辣汤协会”注册了商标。
商户们找到法院询问,被告知可以选择庭前调解。而调解的主要解决方式就是需要加入逍遥镇胡辣汤协会,并缴纳一定的会费。
即要想继续使用“逍遥镇”的牌子,每年要向西华县逍遥镇胡辣汤协会交纳1000元会费,不然就得赔偿3万到5万元。

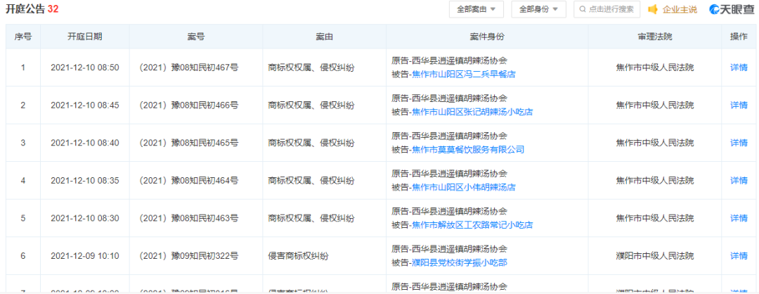
天眼查显示,“西华县逍遥镇胡辣汤协会”目前有30多个官司在打,全部是有关商标侵权纠纷的。而这些起诉案件中,逍遥镇胡辣汤协会均为原告,被告则都是分布在焦作、濮阳等地的胡辣汤商家,开庭日期基本都是在2021年12月。
2、胡辣汤店主:分明就是想割韭菜、敲竹杠!
胡辣汤店经营得好好的,突然被告上了法庭,店主们是又懵又冤。
为了规避被起诉索赔的风险,不少店家无奈之下只好去掉了“逍遥镇”的招牌。还有的不舍得全部撤掉,只去掉了这三个字的偏旁部首,比如“逍”字去掉了“辶”旁,“镇”字去掉了“钅”旁。
甚至有老板被逼得直接将“逍遥镇”改成了“逍停镇”,只希望这件事情快点消停,快点过去。
开封一家胡辣汤店的老板一度掩面哭泣,他说他们家开了25年的逍遥镇胡辣汤早餐店,如今摘掉“镇”字真的是万分不舍:
“把这个‘镇’字拆除,感觉失去了对家乡的思念,本来是想把家乡的东西给它带出来,走向全国,然后发扬光大,没想到这到头来不让加,心里确实特别难受。”
而在伤心难过之余,不少店主也感到非常气愤:
“我都干了七八年了,从来没有说过侵权,突然来张传票,这不是想割韭菜吗?”
“注册商标这么多年,中间为啥一直不吭声呢?这些年要不是靠我们大家的努力推广,他协会能把逍遥镇胡辣汤推广出来?”
“我在逍遥镇卖了几十年胡辣汤,我出来卖汤的时候还没这协会呢,你注册一个‘逍遥镇’,我卖的就不是‘逍遥镇胡辣汤’了?那我卖的是哪儿的胡辣汤呢?”
3、当地政府:叫停协会维权,胡辣汤是全国人民的
“逍遥镇胡辣汤协会”商标维权一事在网上闹得沸沸扬扬,引得当地政府也出来发声了。
11月21日晚间,河南省西华县胡辣汤产业发展中心发布情况说明,表示已责令“逍遥镇胡辣汤协会”暂停目前正在开展的工作。
西华县胡辣汤产业发展中心在情况说明中还表示,“胡辣汤不仅是逍遥镇的,更是全国人民的。逍遥镇胡辣汤之所以成为家喻户晓的美味佳肴,离不开各地胡辣汤经营户的传承熬制,离不开业内同仁的辛苦打拼,更离不开广大人民群众的认可支持。”
协会应该助力行业发展,
而不是“割韭菜”捣乱!
“逍遥镇胡辣汤”商标侵权事件,引起了大家的热议,也在“胡辣汤圈”炸开了锅。
共2页 [1] [2] 下一页
关注公号:redshcom 关注更多: 胡辣汤