您所在的位置:红商网 >> 好公司频道 >> 正文
新氧医美被多位明星起诉 原告方有吴奇隆华晨宇等

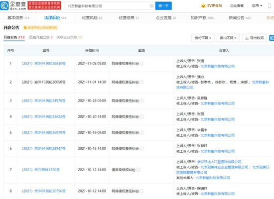
  近日,据企查查APP显示,北京新氧科技有限公司新增多条开庭公告信息,案由多为网络侵权责任纠纷,原告方包括吴奇隆、华晨宇、鞠婧祎等多位明星。据悉,新氧是一个美容整形平台和整形交流社区。

来源:新浪娱乐

搜索更多: 新氧

『独贾参考』:独特视角,洞悉商业世相。
【耕菑草堂】巴山杂花土蜂蜜,爱家人,送亲友,助养生
关注『书仙笙』:结茅深山读仙经,擅闯人间迷烟火。
研究报告、榜单收录、高管收录、品牌收录、企业通稿、行业会务
★★★你有买点,我有流量,势必点石成金!★★★
声明:本页面含有商业推广信息,请注意甄别。
过去心不可得,现在心不可得,未来心不可得。